教你選脫硫泵用機械密封
在線留言收藏本站網站地圖您好,歡迎進入河北湖州用裕纺织制造股份有限公司!主營:脫硫泵,脫硫泵配件,渣漿泵等泵産品!

雜質泵系列産品研發生産廠家高效節能耐磨耐腐量身定制

全國咨詢熱線:

原子泵業動态

原子泵業教你選脫硫泵用機械密封

作者: 原子小編 編輯: 來源: 發布日期: 2020.09.18
信息摘要:
 我司積累了十年經驗,的将機械密封廣泛的用于各類泵蓋中,脫硫泵專用密封,自行研發的大軸徑機械密封、抗堵塞耐磨耐腐蝕機械密封。


        我司積累了十年經驗,将機械密封廣泛的用于各類泵蓋中,脫硫泵用機械密封,自行研發的大軸徑機械密封、抗堵塞耐磨耐腐蝕機械密封。

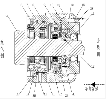
        在給脫硫泵用機械密封 封時候,需要您慎重選擇密封材料和密封形式哦。一👯🏾‍♂️般情況下是,選擇填料密封和機械密封。當然是有各自的優缺🙂‍↔️點。

機械密封

    選脫硫泵用機械密封 的一個原因就是要減小循環脫硫泵而過的洩漏。材質🙆🏿上面的選擇,就要按照機械密封的動環、靜環、輔助密封、彈簧💞的順序,并且脫硫泵用機械密封的😁結構形式要根據泵型号的不同選擇機械密封形式,那麼你要問了,又有哪些機🤑械密封形🔞式呢?

機械密封

     1.單端面機械密封
     2.雙端面背靠背機械密封
     3.集裝式機械密封
機械密封
      我司生産的脫硫泵用機械密封在使用過程中深受客戶好評。

全國服務熱線