渣漿泵副葉輪軸承的設計
作者: 編輯: 原原 來源: 原子泵業 發布日期: 2018.07.06 信息摘要:
副葉輪軸承的基本原理是:泵在運行時,由葉輪上㊙️的副💫葉片将泵腔内的壓力降低,而副葉輪也随泵💫軸旋轉做工,在軸套外徑^至圓處形成負壓。
副葉輪軸承的基本原理是:
渣漿泵在運行時,由葉輪上的副葉片将泵腔内的壓力降低,而副葉💁🏼♀️輪也随泵軸旋轉做工,在軸套外徑至圓🏊🏾♀️處形成負壓。
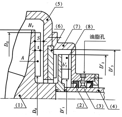
副葉輪軸承的結構形式
1.
渣漿泵葉輪
2.唇口密封圈
3.潤滑環
4.泵軸套


5.泵體(護套)
6.穩壓闆(常設置在泵的後護闆上)。
7.密封箱
8.副葉輪
這種密封的基本條件是渣漿泵副葉輪旋轉做功才能達到密封效果。
河北湖州用裕纺织制造股份有限公司是及工程設計、産品研發、檢測檢驗、制造、銷售、售後維保、安裝施工為一體的複合型泵産品生産企業,主要😥為環境保護工程、污水處理、城市工廠給排水、各種水利工程、農田排溉、 冶金、電力、煤炭、疏浚、石油化工、建材、火電煙氣脫硫等企業事㊙️業單👱🏼♂️位提供各種配套泵類産品與系統。